
Guanajuato, Gto., a 26 de julio de 2023.- Como resultado de una estancia sabática en el hospital Children´s Mercy de Kansas City, y para atender desde la perspectiva de la ingeniería física una problemática presente mayormente en infantes, la encopresis o incontinencia fecal, el Dr. Miguel Vargas Luna, académico de la Universidad de Guanajuato (UG) desarrolló un sistema de monitoreo no invasivo de la motilidad del colon, o como aparece en su patente Non invasive colon motility monitoring system.
El investigador se decantó por la física médica desde hace aproximadamente 25 años, cuando en el entonces Instituto de Física, ahora División de Ciencias e Ingenierías, decidieron crear un espacio especializado en dicha área.
Normalmente la física médica se relaciona únicamente con la radioterapia, pero desde su cuerpo académico decidieron hacer algo más extenso, por eso pasó a llamarse “Física médica e instrumentalización biomédica”, en donde buscan e investigan sobre instrumentalización novedosa para el diagnóstico y tratamiento de enfermedades o el monitoreo de actividades fisiológicas.
Así, con la idea de investigar directamente en un hospital, presentó en 2016 un proyecto para medir material gástrico a través de señales eléctricas, mismo por el que fue aceptado en el mencionado hospital norteamericano. Sin embargo, durante ese periodo y tras charlar con colegas y médico(a)s, surgió la oportunidad de indagar sobre el tema de la encopresis, la cual suele presentarse en infantes y para la que actualmente sólo existen tratamiento con medicamentos.
Sobre cómo funciona su patente, explica: “La idea es que el dispositivo le indique que tiene ese estímulo eléctrico y esa motilidad en el colón, que indica una posibilidad de la necesidad de defecar”.
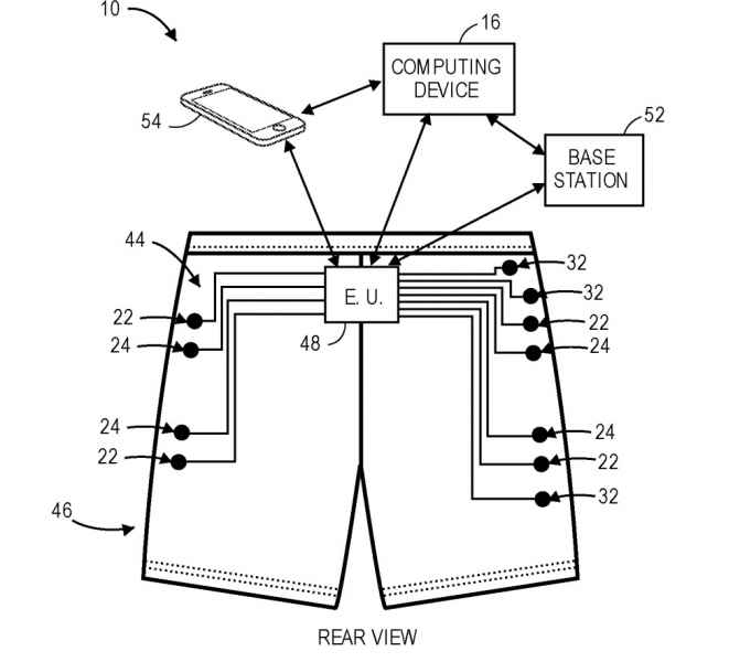
El funcionamiento del dispositivo consiste en poner electrodos a los lados de la cadera y en la parte alta de los glúteos, de tal manera que cuando se aplique una corriente eléctrica, esta pase por donde está el colón y pueda detectar cualquier movimiento de esta parte del cuerpo. Estos electrodos, sugirió Vargas Luna, pueden colocarse, por ejemplo, en una trusa, de tal manera que un niño pueda usarlos y reconocer cuándo debe evacuar.
Para llegar hasta esto, hubo que revisar la literatura disponible sobre el tema, la cual desde el área de física médica era prácticamente inexistente, y posteriormente, probar el dispositivo incluso en su persona. También estudió anatomía y por supuesto, la encopresis, la cual describió como “La dificultad que tienen la gente en general, en este caso los niños, para detectar la necesidad de defecar. Simplemente se defecan porque no sienten el estímulo o no lo identifican”.
Este dispositivo tiene la patente en Estados Unidos y Japón, pero también, y con las gestiones del Children´s Mercy, buscan sea válida en la Unión Europea y Australia.
El Dr. Miguel Vargas Luna resaltó la importancia de la colaboración multidisciplinaria y entre instituciones, ya que él salió con una idea distinta a su estancia sabática, pero consiguió una patente al lograr identificar una problemática con una gran área de oportunidad.
También animó a las y los jóvenes a innovar, ya que comentó, en un futuro hasta el 80% de los dispositivos que usamos en la actualidad se van a transformar, por lo que no hay que quedarse atrás, así que les sugiere: “Reconocer que tienen capacidad, que tienen los conocimientos, y que tienen la inteligencia para hacer muchísimas cosas”.